top
  HA_NC/Pt Etalon serie
HA_NC/Pt/50 (50 separated chips), 820,00 €
HA_NC/Pt/15 (15 separated chips), 300,00 €

Specification of HA_NC/Pt probe series:

 Material
 Polysilicon lever,
 monocrystal silicon tip
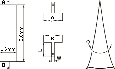
 Chip size  3.6 x 1.6 x 0.4 mm

 Reflective side

 Tip side

 Au (20-30 nm)

 Pt (20-30 nm)

 Cantilever number  2 rectangular
 Tip shape  Octahedral at the base, conic on the last 200 nm
 Tip cone angle φ  30 degrees on the last 200 nm
 Full tip height  ≥10 µm
 Pedestal/tip ratio  1:1
 Tip curvature radius  less than 35 nm

 

Cantilever type A B Typical dispersion
Length, L (µm) 94 124 ± 2
Width, W (µm) 34 34 ± 3
Thickness, H (µm) 1.85 1.85 ± 0.15
Force Constant (N/m) 12 3.5 ±20%
Resonant frequency (kHz) 235 140 ± 10%
 
 
address